Perkins柴油發動機T400950渦輪增壓器、T400304啟動馬達、T400726噴油器、CH11087充電發電機 1506A
項目 零配件號碼 最近的部分號碼 描述
1 T400950 1 T400950 渦輪增壓器
(1) T400950R 1 T400950R 渦輪增壓器 -交換
5 T400948 1 T400948 密合墊 -渦輪增壓器
6 CH11242 4 CH11242 鎖緊螺母
項目 零配件號碼 最近的部分號碼 描述
1 T400304 1 T400304 啟動馬達
2 T400722 1 T400722 地球帶
3 T400720 2 T400720 螺拴
4 T400724 2 T400724 墊圈
5 T400720 1 T400720 螺拴
6 T400721 1 T400721 接線夾
7 T400723 1 T400723 墊圈
8 CH10054 1 CH10054 纜拉桿
項目 零配件號碼 最近的部分號碼 描述
1 T400548 1 T400548 惰輪皮帶輪
6 4590657 1 4590657 帶
6 T400553 1 T400553 帶
7 T400554 1 T400554 間隔器
8 T400555 2 T400555 螺旋
9 CH11815 1 CH11815 螺拴
10 CH10277 1 CH10277 墊圈
11 CH11565 1 CH11565 螺拴
12 CH10255 1 CH10255 墊圈
項目 零配件號碼 最近的部分號碼 描述
1 T400614 1 T400614 濾清器冒口
4 4587260 1 4587260 濾清器
4 T400618 1 T400618 濾清器
5 T400622 1 T400622 密合墊 - 濾清器的冒口
6 T400617 1 T400617 圖釘
7 CH11565 11 CH11565 螺拴
8 CH10277 12 CH10277 墊圈
9 T400429 1 T400429 栓塞
10 T400188 1 T400188 密封 - O 的圈
11 T400616 1 T400616 彈簧
12 3781 V021 1 3781 V021 氣門
13 T400429 1 T400429 栓塞
14 T400188 1 T400188 密封 - O 的圈
15 T400616 1 T400616 彈簧
16 3781 V021 1 3781 V021 氣門
17 T400619 1 T400619 承接器
18 T409314 1 T409314 密封 - O 的圈
19 T400620 1 T400620 肘管
20 CH11880 1 CH11880 密封 - O 的圈
21 T400621 1 T400621 停機氣門
23 2658 A101 1 2658 A101 帽
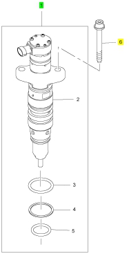
項目 零配件號碼 最近的部分號碼 描述
1 T400726 6 T400726 噴油器
(1) T400726R 6 T400726R 噴油器 -交換
6 CH11837 12 CH11837 公制的螺拴
項目 零配件號碼 最近的部分號碼 描述
2 1 噴油器
3 T400940 2 T400940 密封 -噴油器
4 T400941 1 T400941 圈
5 T400942 1 T400942 密封 -噴油器
項目 零配件號碼 最近的部分號碼 描述
1 CH11087 1 CH11087 充電發電機
(1) 半徑/CH11087 1 半徑/CH11087 交換充電發電機
項目 零配件號碼 最近的部分號碼 描述
1 T400904 1 T400904 充電發電機皮帶輪
2 T400676 1 T400676 充電發電機托架
3 T400672 1 T400672 螺拴
4 CH11604 1 CH11604 墊圈
5 T400673 1 T400673 螺拴
6 CH11604 2 CH11604 墊圈
7 2238155 1 2238155 螺帽
8 CH12124 1 CH12124 螺拴
9 T400675 1 T400675 間隔器
10 ST43558 2 ST43558I 螺拴
11 T400674 2 T400674 套筒
12 T400681 2 T400681 套筒
13 T401872 1 T401872 桿
13 T400678 1 T400678 桿
14 T406503 1 T406503 螺拴
15 CH10099 1 CH10099 墊圈
16 T400677 1 T400677 間隔器
17 T400679 1 T400679 間隔器
18 T400671 1 T400671 螺拴
19 T400680 1 T400680 間隔器
20 CH11604 1 CH11604 墊圈
21 T400670 2 T400670 螺帽
22 CH10099 2 CH10099 墊圈
項目 零配件號碼 最近的部分號碼 描述
1 T401007 1 T401007 散熱器
項目 零配件號碼 最近的部分號碼 描述
1 T400970 1 T400970 風扇
2 CH11895 6 CH11895 螺拴
3 CH10255 6 CH10255 墊圈
購買配件須知:
1、購買前請確認零部件型號、技術參數、編碼、適用機型。因批次不同或存在零部件差異,請以實物為準。
2、為選購正確的零部件,可以通過對比現場零部件和本網站所展示的是否一致,來確保購買到準確的零部件。
3、本網站目前暫未上架全部機型的零部件,如在網站中未查詢到的零部件,請聯系我們。